


活性炭吸附脫附廢氣處理設備完整的工藝流程是:吸附濃縮-脫附再生-溶劑分離回收,由并聯的兩個或三個活性炭(纖維)吸附器和一套脫附回收裝置組成。它具有技術成熟、性能穩定、吸附能
服務電話:13091153069(同微信)
一、活性炭吸附設備簡介
活性炭吸附脫附廢氣處理設備(ACF)是利用活性炭(纖維)對有機溶劑的強吸附性而研發生產的的。對于低濃度大風量的有機廢氣,活性炭吸附設備有非常高的凈化效率。
活性炭吸附脫附廢氣處理設備完整的工藝流程是:吸附濃縮-脫附再生-溶劑分離回收,由并聯的兩個或三個活性炭(纖維)吸附器和一套脫附回收裝置組成。它具有技術成熟、性能穩定、吸附能力強、可回收原材料、尾氣排放濃度低、安全可靠等優點。
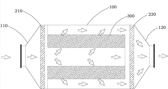
二、活性炭吸附脫附設備工作原理
活性炭吸附廢氣分子:活性炭在活化過程中,巨大的表面積和復雜的孔隙結構逐漸形成,活性炭的表面積主要是由微孔提供的,活性炭的吸附可分為物理吸附和化學吸附,而吸附過程正是在這些孔隙中和表面上進行的。
活性炭的多孔結構提供了大量的表面積,從而使其非常容易達到吸收廢氣的目的。就象磁力一樣,所有的分子之間都具有相互引力。正因為如此,活性炭孔壁上的大量的分子可以產生強大的引力,從而達到將介質中的噴漆廢氣吸引到孔徑中的目的,這就是物理吸附。
必須指出的是,這些被吸附的廢氣分子直徑必須是要小于活性炭的孔徑,這樣才可能保證雜質被吸收到孔徑中?;钚蕴坎粌H含碳,而且在其表面含有少量的化學結合、功能團形式的氧和氫,例如羧基、羥基、酚類、內脂類、醌類、醚類等。
這些表面上含有地氧化物或絡合物可以與被吸附的物質發生化學反應,從而與被吸附物質結合聚集到活性炭的表面。最后處理后的廢氣通過后端離心風機抽風形成負壓,從離地15m煙囪安全、達標的排放到大氣中。
由于分子之間擁有相互吸引的作用力,當一個分子被活性炭內孔捕捉進入到活性炭內空隙中后,由于分子之間相互吸引的原因,會導致更多的分子不斷被吸引,直到添滿活性炭內空隙為止。
三、活性炭吸附設備除臭效率
初期除臭效率可達65%,但極易飽和,通常數日即失效,需要經常更換。
四、廢氣活性炭吸附器產品優點和缺點
1、優點:
① 吸附效率高,適用面廣;
?、?維護方便,無技術要求;
?、?能同時處理多種混合廢氣;
2、缺點
① 運行成本較高;
五、活性炭吸附設備適用范圍
活性炭吸附設備主要應用于:電子原件生產、電池(電瓶)生產、酸洗作業、實驗室排風、冶金、化工、醫藥、涂裝、食品、釀造及家具生產等行業的廢氣凈化,其中最適用于噴漆廢氣的處理凈化。
六、活性炭吸附設備技術參數表
|
型號 |
外形尺寸 |
通風截面積m² |
裝炭量m³ |
風量 |
|
YLHXT-0.5 |
1600*1200*1800 |
1.92 |
0.38 |
5000 |
|
YLHXT-0.8 |
1800*1200*1800 |
2.4 |
0.48 |
8000 |
|
YLHXT-1 |
2000*1300*1800 |
2.88 |
0.58 |
10000 |
|
YLHXT-1.5 |
2300*1300*1800 |
3.6 |
0.72 |
15000 |
|
YLHXT-2 |
2600*1500*1800 |
4.3 |
0.86 |
20000 |
|
YLHXT-3 |
3000*1500*1800 |
5.3 |
1.06 |
30000 |
|
YLHXT-4 |
3600*1700*1800 |
6.72 |
1.34 |
40000 |
|
YLHXT-5 |
4000*1700*1900 |
8.32 |
1.66 |
50000 |
|
YLHXT-6 |
4600*2000*1900 |
9.88 |
1.98 |
60000 |
|
YLHXT-7 |
5000*2000*2000 |
11.76 |
2.35 |
70000 |
|
YLHXT-8 |
5000*2200*2200 |
13.44 |
2.69 |
80000 |
|
YLHXT-9 |
5500*2200*2200 |
15.04 |
3 |
90000 |
|
YLHXT-10 |
6000*2200*2200 |
16.64 |
3.33 |
100000 |